Máy Sấy Băng Tải Rung TYR-5.4
Model: TYR-5.4

Mô tả
Máy sấy băng tải rung thường được ứng dụng trong sấy các loại nguyên liệu dạng bột , hạt, viên... Không khí sau khi được làm sạch và làm nóng sẽ thổi từ phía dưới, đi qua tấm sàng chứa vật liệu sấy. Trong buồng làm việc, vật liệu sấy được đưa vào trạng thái tầng sôi nhờ motor rung. Không khí nóng thổi qua vật liệu sấy lơ lửng trên sàng rung giúp vật liệu sấy nhanh chóng đạt được trạng thái khô mong muốn.
Thông số kỹ thuật
- Kích thước giường sấy: 9000 x 600 mm
- Diện tích giường sấy: 5.4 m²
- Nhiệt độ đầu vào: 70-120°C
- Nhiệt độ đầu ra: 40-70°C
- Khả năng bay hơi: 120-170 Kg/h
- Công suất máy rung: 2x2.2 kW
- Kích thước tổng: Khoảng 10500×1000×1900
- Vật liệu cấu tạo toàn bộ bằng inox 304

Tính năng
- Rung động: Sử dụng 2 động cơ rung, vận hành êm ái, dễ bảo trì, tiếng ồn thấp, tuổi thọ cao.
- Dòng chảy đều, không có góc chết, có thể sấy, làm mát, tạo ẩm đồng đều cho sản phẩm.
- Khả năng điều chỉnh tốt, tính ứng dụng rộng rãi.
- Ít gây hư hại cho bề mặt vật liệu, có thể dùng để sấy các vật liệu dễ vỡ.
- Kết cấu toàn bộ máy kín, ngăn chặn hiệu quả vật liệu và khí thải ô nhiễm chéo, môi trường làm việc sạch sẽ, sản xuất liên tục.
- Hiệu suất cơ học và hiệu suất nhiệt cao, tiết kiệm năng lượng tốt hơn máy sấy thông thường, có thể tiết kiệm năng lượng từ 30% - 60%.
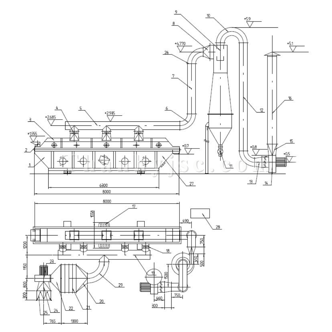
Bản vẽ

Cấu hình cung cấp
- Buồng sấy : 1 cái
- Giường sấy: 1 cái
- Máy cấp rung 2.2 kw: 2 cái
- Thiết bị trao đổi nhiệt 220 kw: 1 bộ
- Bộ lọc khí (lọc khí vào máy sấy) : 1 bộ
- Quạt thổi 5.5 kw: 1 cái
- Bộ tách cyclone: 1 bộ
- Quạt hút gió (cổng ra) 7.5 kw: 1 cái